产品详细
    分享到:
    点击次数:2414  更新时间:2015-07-15   【打印此页】  【关闭

    量程范围 0.1t、0.2t、0.5t、1t、2t、3t、5t、10t、20t、30t

    功能特点:传感器弹性体采用合金钢或者不锈钢材质;激光焊接密封处理 ,表面镀镍,防水,防腐蚀,防护等级达到IP66。
    应用范围: 广泛应用于工业过程力的控制、配料控制系统及检测设备等各种称重测力设备 

     

    技术指标明细:

    精度等级 : G2

    灵敏度温度影响(%F.S/10℃): ±0.05

    综合误差(%F.S) : ±0.2

    零点温度影响(%F.S/10℃) : ±0.05

    灵敏度(mv/v) : 2.0±0.04

    温度补偿范围(℃ ) : -10~+40

    蠕变(%F.S/30min) : ±0.02

    使用温度影响(℃ ) : -20~+55

    零点输出(%F.S) : ±1.0

    激励电压(V) : 9~12(DC)

    输入阻抗(Ω) : 700±10

    安全过载范围 (%F.S) : 150

    输出阻抗(Ω) : 700±5

    极限过载范围 (%F.S) : 200

    绝缘电阻(MΩ) : ≥5000(100VDC)

    防护等级 : IP68

     

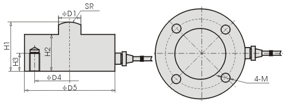
    安装尺寸规格图 (单位mm) 

     

     

     

     

     

     

     

    (量程)t

    D1

    D4

    D5

    H1

    M

    SR

    0.02--1

    10

    42

    50

    30

    M5

    30

    2--5

    22

    70

    90

    48

    M10

    50

    10--20

    32

    90

    115

    60

    M12

    80

    30

    42

    125

    155

    90

    M16

    100

    接线方式: 

    红线: 激励 ( +) 111 绿线: 信号 ( +) 
    黑线: 激励 ( -) 111 白线: 信号 ( -)

    备注:采用四芯屏蔽电缆,规格:φ5×3000mm,如有特殊需要,可根据客户要求提供!


    受力示意图:

     

     

友情链接:百度  |  google  |  新浪微博

Copyright © 2015-2016  广州乐思体育有限公司   备案号:****

联系人:雷先生 88888888099  电 话:88888888  66666666

广州网站建设骏域网站建设专家   电脑版 | 手机版